思拓力RTK靜態控制測量步驟,主要5大步,附控制網設計原則
發布時間:2022-02-25 10:47:52
在進行測量作業的時候,有時候會涉及到使用靜態控制測量來進行坐標點的獲取,使用RTK靜態模式,可以很好地進行這一步。那么思拓力RTK靜態控制測量步驟是怎樣的呢?CORS賬號網收集整理了思拓力RTK靜態控制測量步驟,主要分為5大步,還附上了GPS控制網設計原則,下面我們就一起來看看吧。
這里以思拓力S1 工程型慣導RTK為例:
思拓力S1 ?程型慣導RTK,搭載基于“天琴”?代芯片的全尺寸高精度定位板卡,全星座全頻點信號追蹤(五星?六頻),全面支持北斗三號;內嵌eSIM,開機即測,一年免流量,無需插卡即可實行網絡式作業;預裝思拓力第四代慣導傾斜測量技術(需單獨開通),顯著提升?程放樣效率。
事前準備:
用三臺(或三臺以上)GNSS 接收機-思拓力S1 ,分別安置測站上進行同步觀測,確 定測站之間相對位置的 GPS 定位測量。
下面來看看思拓力RTK靜態控制測量步驟:
1、將三腳架架設在觀測點上,接收機設置為靜態工作模式架設在基座上,嚴格對中整平。 靜態模式設置步驟:
點擊手簿測量軟件SurPad,依次點擊【儀器】->【靜態模式】,設置點名、PDOP 限制、高度截止角、采集間隔、是否自動記錄靜態數據等選項(根據實際情況設置)。

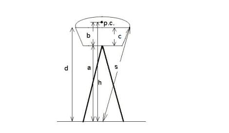
2、測量天線高。
b:儀器底部到相位中心 p.c 的高度;c:儀器底部到橡膠圈的高度;R:機器橡膠圈的半徑。
當量取值為從地面點到主機的底部的垂直高度 a 時,為“桿高”量取方式。天線高度h = a + b。
當量取值為從地面點到相位中心時,為“直高”量取方式。天線高度 h = h。
當量取值為從地面點到密封橡膠圈的斜高 s 時,為“斜高”量取方式。天線高度
h = sqrt(s² - R²) - c + b(sqrt 是指開平方)。
3、記錄點名、儀器名、儀器高、開始/結束觀測時間、觀測時段和衛星數。
4、采集靜態數據。開機,確認主機為靜態模式,主機開始搜星并且衛星燈開始閃爍,達到記錄條件時,衛星燈會按照預先設定好的采樣間隔閃爍,閃 一下表示采集了一個歷元。
5、 數據采集完成之后關閉主機,然后進行數據的傳輸和內業數據處理。
注意GPS 控制網設計原則如下:
1)為保證對衛星的連續跟蹤觀測和衛星信號的質量,GPS 網點應設置在視 野開闊的地方,視場內障礙物的高度角不宜超過 15 度。
2)為減少或者避免電磁波對衛星信號的干擾,測站應遠離大功率無線電發 射源(如電視臺、電臺、微波站等),附近不應有強烈反射衛星信號的物 體(如大型建筑物等)。
3)控制點應選在交通便利,地面基礎穩定,易于點位保存,并有利于其他測 量手段擴展和聯測的地方。
以上就是關于思拓力RTK靜態控制測量步驟的全部內容了,希望看了本篇文章的你能夠對RTK的靜態控制測量有一個深入的了解。
這里以思拓力S1 工程型慣導RTK為例:
思拓力S1 ?程型慣導RTK,搭載基于“天琴”?代芯片的全尺寸高精度定位板卡,全星座全頻點信號追蹤(五星?六頻),全面支持北斗三號;內嵌eSIM,開機即測,一年免流量,無需插卡即可實行網絡式作業;預裝思拓力第四代慣導傾斜測量技術(需單獨開通),顯著提升?程放樣效率。

用三臺(或三臺以上)GNSS 接收機-思拓力S1 ,分別安置測站上進行同步觀測,確 定測站之間相對位置的 GPS 定位測量。
下面來看看思拓力RTK靜態控制測量步驟:
1、將三腳架架設在觀測點上,接收機設置為靜態工作模式架設在基座上,嚴格對中整平。 靜態模式設置步驟:
點擊手簿測量軟件SurPad,依次點擊【儀器】->【靜態模式】,設置點名、PDOP 限制、高度截止角、采集間隔、是否自動記錄靜態數據等選項(根據實際情況設置)。

b:儀器底部到相位中心 p.c 的高度;c:儀器底部到橡膠圈的高度;R:機器橡膠圈的半徑。
當量取值為從地面點到主機的底部的垂直高度 a 時,為“桿高”量取方式。天線高度h = a + b。
當量取值為從地面點到相位中心時,為“直高”量取方式。天線高度 h = h。
當量取值為從地面點到密封橡膠圈的斜高 s 時,為“斜高”量取方式。天線高度
h = sqrt(s² - R²) - c + b(sqrt 是指開平方)。

4、采集靜態數據。開機,確認主機為靜態模式,主機開始搜星并且衛星燈開始閃爍,達到記錄條件時,衛星燈會按照預先設定好的采樣間隔閃爍,閃 一下表示采集了一個歷元。
5、 數據采集完成之后關閉主機,然后進行數據的傳輸和內業數據處理。
注意GPS 控制網設計原則如下:
1)為保證對衛星的連續跟蹤觀測和衛星信號的質量,GPS 網點應設置在視 野開闊的地方,視場內障礙物的高度角不宜超過 15 度。
2)為減少或者避免電磁波對衛星信號的干擾,測站應遠離大功率無線電發 射源(如電視臺、電臺、微波站等),附近不應有強烈反射衛星信號的物 體(如大型建筑物等)。
3)控制點應選在交通便利,地面基礎穩定,易于點位保存,并有利于其他測 量手段擴展和聯測的地方。
以上就是關于思拓力RTK靜態控制測量步驟的全部內容了,希望看了本篇文章的你能夠對RTK的靜態控制測量有一個深入的了解。
相關閱讀:
聯系方式
聯系方式
公司傳真:400-110-5117
客服電話:15528332692
客服微信:qxcorszh
推薦產品
熱點資訊